大资本210cc

欢迎来到上海沈泉泵阀制造有限公司!
隔膜泵_隔膜计量泵厂家_螺杆泵

电动隔膜泵的工作原理及特点

  电动隔膜泵的工作原理及特点

不锈钢电动隔膜泵

  隔膜泵是目前国内的一种新型泵类,在驱动方式上可分为气动隔膜泵和电动隔膜泵,因其不需灌引水,自吸能力强的特点,使得隔膜泵在越多的领域中占据了一定的主导地位,并且还能替代部分的离心泵和自吸泵。而今天上海沈泉隔膜泵厂家就为大家来简单的讲述下电动隔膜泵的工作原理及特点。下面就请大家跟着小编一起来看看吧。

  电动隔膜泵的工作原理:

 

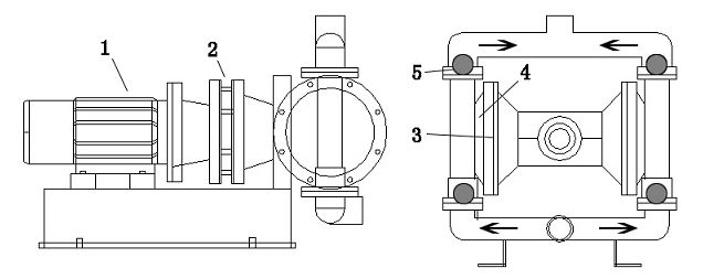
电动隔膜泵工作原理结构图

  电机通过减速箱带动左右两端柱塞上面的隔膜一前一后往复运动。在左右两个泵腔内,装有上下四个单向球阀隔膜的运动,造成工作腔内的容积的改变,迫使四个单向球阀交替地开启和关闭,从而将液体不断地吸入和排出。

  电动隔膜泵的特点:

  1、不需灌引水,自吸能力达7米以上。

  2、通过性能好,直径在10毫米以下的颗粒、泥浆等均可以毫不费力地通过。

  3、由于隔膜将被输送介质和传动机械件分开,所以介质JD不会向外泄漏。且泵本身无轴封,使用寿命大大延长。根据不同介质,隔膜分为氯丁橡胶、氟橡胶、丁晴橡胶等,完全可以满足不同用户的要求。

  4、体积小重量轻:由于采用了行星摆线传动结构,故使泵型获得小尺寸如与同类型泵来比较,其体积重量均下降一半左右。

  5、泵体介质流经部份,可根据用户要求,分为铸铁、不锈钢、衬胶、电机分为普通式、防爆式、调速式,该泵正应用在下列场合。

本文参考资料来源:

获取报价(留言后专人第一时间快速对接)

已为 2000+ 企业服务

姓 名:

联系电话:

留言备注:

我们的优势

  1. 厂家直销:无中间商,批发价格让利客户
  2. 质量可靠:十多年水泵生产经验
  3. 服务无忧:专业售后,一对一服务
  4. 高性价比:少走弯路,不花冤枉钱
  5. 浏览10次不如咨询1次,3分钟解决您的疑问!
首页 |产品中心 |隔膜泵 |联系我们
98彩票 - 首页 富彩vip登录|首页 六玄网949434-六玄132432com-六玄开奖网686767-香港六玄开奖网-六玄网132432-六玄网开奖网44579 2468彩票网 彩运网888 - 首页 U9彩票799cc-u9彩票799绿色-绿色U9彩票旧版-u9彩票799手机版 新彩网90999(中国区)官方网站 9759彩集团 - 首页